Размер шрифта
Новости Спорт
Выйти
Встреча России, США и Украины в ОАЭНовые файлы Эпштейна
Наука

В России разработали новый тип химического реактора

ПНИПУ: создан реактор для производства синтез-газа на 30% эффективнее аналогов

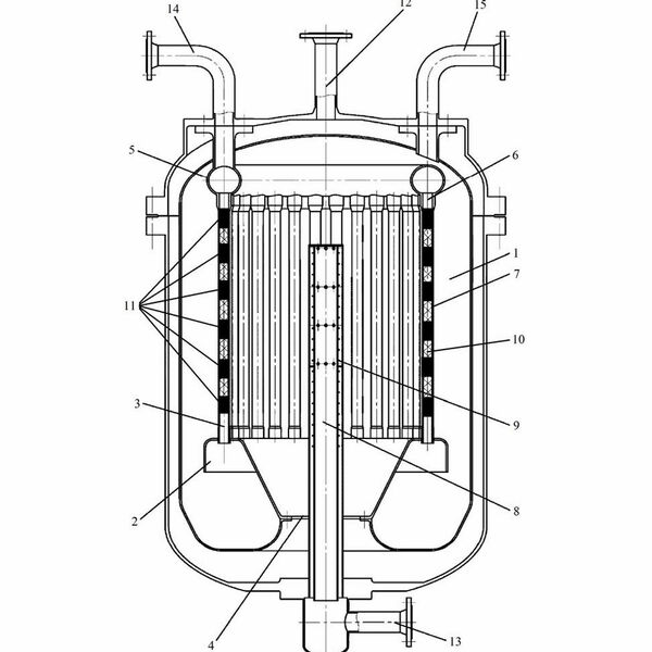
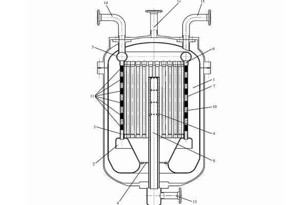
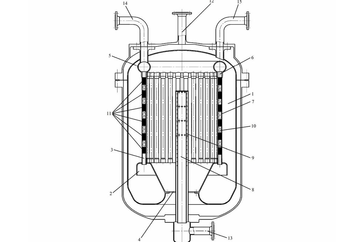
Ученые Пермского национального исследовательского политехнического университета (ПНИПУ) сконструировали новый реактор для получения синтез-газа — ключевого компонента химической промышленности. Изобретение может увеличить производительность процесса на 30%, сообщили «Газете.Ru» в пресс-службе научного учреждения.

Синтез-газ, представляющий собой смесь водорода и оксида углерода, широко используется для производства топлива, пластмасс, удобрений, лекарств и других важных продуктов.

Традиционные реакторы имеют существенный недостаток — неравномерный нагрев катализатора внутри трубок, что снижает эффективность процесса.

Новая конструкция решает эту проблему за счет чередования слоев катализатора и металлических сферических частиц, которые обеспечивают равномерное распределение тепла. Реактор состоит из 30 трубок увеличенного диаметра, заполненных никель-керамическим катализатором и металлическими шариками, а также центральной нагревательной трубы.

Как пояснил главный инженер проектов ПНИПУ Николай Кондрашов, при подаче углеводородного сырья (например, метана) через реакционные каналы происходит его преобразование в синтез-газ с высокой эффективностью.

Испытания на одном из предприятий атомной отрасли подтвердили увеличение производительности.

Ранее в России превратили вредные отходы угольной добычи в безопасные и прочные кирпичи.


 
Службы доставки и фастуд: какие сайты и сервисы работают даже офлайн — свежий белый список
На сайте используются cookies. Продолжая использовать сайт, вы принимаете условия
Ok
1 Подписывайтесь на RusTopNews.Online в MAX Все ключевые события — в нашем канале. Подписывайтесь!